Antec Fusion Remote geht nicht an
Forumsregeln
Wichtige Hinweise zum erstellen neuer Themen - bitte vorher einmal unsere Forenregeln lesen!
Wichtige Hinweise zum erstellen neuer Themen - bitte vorher einmal unsere Forenregeln lesen!
Antec Fusion Remote geht nicht an
Hallo in die Runde,
bei der Internetrecherche zu einem Harmony-Problem bin ich auf dieses Forum gestoßen und hoffe, dass mir hier jemand helfen kann. Ich habe hier einen HTPC stehen, den ich in ein Gehäuse von Antec, genauer gesagt in das Fusion Remote Black, gepackt habe. Diesen möchte ich gerne mit meiner Logitech Harmony 555 steuern.
Das funktioniert soweit auch ganz gut. Lediglich das Anschalten des Computers klappt nicht - es tut sich gar nichts. Weder beim Benutzen der mitgelieferten iMon-Fernbedienung, noch bei der mit den iMon-Befehlen beladenen Harmony.
Ich habe die aktuelle iMon-Software drauf, IR-Empfänger funktioniert soweit offenbar gut, nur eben dieser eine Befehl funktioniert überhaupt nicht.
Hat jemand von euch eine Idee? Über jegliche Vorschläge bin ich sehr dankbar.
Viele Grüße!
bei der Internetrecherche zu einem Harmony-Problem bin ich auf dieses Forum gestoßen und hoffe, dass mir hier jemand helfen kann. Ich habe hier einen HTPC stehen, den ich in ein Gehäuse von Antec, genauer gesagt in das Fusion Remote Black, gepackt habe. Diesen möchte ich gerne mit meiner Logitech Harmony 555 steuern.
Das funktioniert soweit auch ganz gut. Lediglich das Anschalten des Computers klappt nicht - es tut sich gar nichts. Weder beim Benutzen der mitgelieferten iMon-Fernbedienung, noch bei der mit den iMon-Befehlen beladenen Harmony.
Ich habe die aktuelle iMon-Software drauf, IR-Empfänger funktioniert soweit offenbar gut, nur eben dieser eine Befehl funktioniert überhaupt nicht.
Hat jemand von euch eine Idee? Über jegliche Vorschläge bin ich sehr dankbar.
Viele Grüße!
-
- Foren-Admin
- Beiträge: 3851
- Registriert: 19. April 2007 21:49
-
1. Harmony: Elite2. Harmony: Ultimate3. Harmony: UltimateSoftware: MyHarmony
Re: Antec Fusion Remote geht nicht an
Hallo,
wenn das Anlernen (auch im RAW-Mode, siehe FAQs) nichts bringt, ran an den Support. iMon ist ein sehr sensibler IR-Dialekt.
Gruesse
listener
wenn das Anlernen (auch im RAW-Mode, siehe FAQs) nichts bringt, ran an den Support. iMon ist ein sehr sensibler IR-Dialekt.
Gruesse
listener
Grüße
listener
Kein Support per PN oder E-Mail!
Stellt eure Fragen bitte im Forum!
listener
Kein Support per PN oder E-Mail!
Stellt eure Fragen bitte im Forum!
TV: Samsung UE32H6410
|
PVR: Topfield CRP-2401CI+
|
AVR: Yamaha RX-V577
|
5.1-Speaker: Teufel Concept S
|
Minisystem: Marantz M-CR610
|
Blue Ray: Samsung BD-J6300
|
Streaming: FireTV 4K Max
|
Re: Antec Fusion Remote geht nicht an
guten abend,
verwendet das gleiche gehäuse + software. alles funktioniert bei mir seit vista x64 bzw. jetzt win7 x64 problemlos.
also auch ein-/ausschalten. verwende eine harmony 895 und eine ONE.
- in der imon software die richtige fernbedienung eingestellt?
- verkabelung des gehäuses mit dem mainboard korrekt?
(ist etwas komplexer als bei "normalen" gehäusen)
gruß
a.rolle
verwendet das gleiche gehäuse + software. alles funktioniert bei mir seit vista x64 bzw. jetzt win7 x64 problemlos.
also auch ein-/ausschalten. verwende eine harmony 895 und eine ONE.
- in der imon software die richtige fernbedienung eingestellt?
- verkabelung des gehäuses mit dem mainboard korrekt?
(ist etwas komplexer als bei "normalen" gehäusen)
gruß
a.rolle
Re: Antec Fusion Remote geht nicht an
Hi!
zunächst einmal vielen Dank für eure Antworten!
Ich habe vor Kurzem an der Verkabelung rumgewerkelt und stelle gerade fest, dass die Fernbedienung zwar Befehle sendet, aber nichts mehr am IR-Empfänger ankommt. Offensichtlich habe ich im Laufe der Aktion etwas falsch angeschlossen
Da werde ich wohl noch einmal genauer nachsehen müssen.
Kannst du mir sagen, wie du dein Gehäuse genau verkabelt hast, so dass auch die An-/Ausschalten-Taste der Fernbedienung funktioniert?
Denn mit meiner "alten" Verkabelung ging das - wie oben erwähnt - als letztes fehlendes Feature nicht...
Würde mich sehr freuen und mir sicher auch weiterhelfen, weil ich da nicht ganz firm bin/war
Viele Grüße!
zunächst einmal vielen Dank für eure Antworten!
Ich habe vor Kurzem an der Verkabelung rumgewerkelt und stelle gerade fest, dass die Fernbedienung zwar Befehle sendet, aber nichts mehr am IR-Empfänger ankommt. Offensichtlich habe ich im Laufe der Aktion etwas falsch angeschlossen

Da werde ich wohl noch einmal genauer nachsehen müssen.
Kannst du mir sagen, wie du dein Gehäuse genau verkabelt hast, so dass auch die An-/Ausschalten-Taste der Fernbedienung funktioniert?
Denn mit meiner "alten" Verkabelung ging das - wie oben erwähnt - als letztes fehlendes Feature nicht...
Würde mich sehr freuen und mir sicher auch weiterhelfen, weil ich da nicht ganz firm bin/war

Viele Grüße!
Re: Antec Fusion Remote geht nicht an
gute frage, ist schon ein paar tage her...
habe mir gerade mal das handbuch zum gehäuse herausgesucht und nach dem bin ich damals vorgegangen.
insbesondere gab es da noch einen din a5 "beipackzettel, der sich mit dem front-display beschäftigte und dann erst
wirklich zum erfolg führte.
handbuch gibt es auf der antec seite zum download. den "beipackzettel" habe ich dort nicht gefunden, kann ich dir aber gerne zusenden.
gruß
a.rolle
habe mir gerade mal das handbuch zum gehäuse herausgesucht und nach dem bin ich damals vorgegangen.
insbesondere gab es da noch einen din a5 "beipackzettel, der sich mit dem front-display beschäftigte und dann erst
wirklich zum erfolg führte.
handbuch gibt es auf der antec seite zum download. den "beipackzettel" habe ich dort nicht gefunden, kann ich dir aber gerne zusenden.
gruß
a.rolle
Re: Antec Fusion Remote geht nicht an
Wow, deine Hilfsbereitschaft beeindruckt mich!
Danke für das Angebot, wenn du den "Beipackzettel" per E-Mail senden könntest, wäre das super. Alles andere möchte ich dir nicht zumuten
Ich werde mich wohl erst in den nächsten mit der Verkabelung auseinandersetzen können. Es drängt also nicht. Vielleicht finde ich in meinem Umzugschaos auch meine Antec-Unterlagen, die ich auf jeden Fall irgendwo deponiert hatte.
Ich geb Bescheid, bis dahin.
Viele Grüße
Danke für das Angebot, wenn du den "Beipackzettel" per E-Mail senden könntest, wäre das super. Alles andere möchte ich dir nicht zumuten

Ich werde mich wohl erst in den nächsten mit der Verkabelung auseinandersetzen können. Es drängt also nicht. Vielleicht finde ich in meinem Umzugschaos auch meine Antec-Unterlagen, die ich auf jeden Fall irgendwo deponiert hatte.

Ich geb Bescheid, bis dahin.
Viele Grüße
Re: Antec Fusion Remote geht nicht an
anbei das gewünschte.
per pm habe ich keine möglichkeit gefunden dateien mitzusenden.
evtl. kann mir einer der moderatoren für's nächste mal auf die sprünge helfen...
gruß
a.rolle
per pm habe ich keine möglichkeit gefunden dateien mitzusenden.
evtl. kann mir einer der moderatoren für's nächste mal auf die sprünge helfen...
gruß
a.rolle
-
- Beiträge: 140
- Registriert: 20. Januar 2010 16:19
-
Wohnort: Pforzheim1. Harmony: Ultimate2. Harmony: Ultimate3. Harmony: HubSoftware: MyHarmony+PC-Software
Re: Antec Fusion Remote geht nicht an
Hallo Leidensgenosse...jaaraki hat geschrieben:Wow, deine Hilfsbereitschaft beeindruckt mich!
Ich werde mich wohl erst in den nächsten mit der Verkabelung auseinandersetzen können. Es drängt also nicht. Vielleicht finde ich in meinem Umzugschaos auch meine Antec-Unterlagen, die ich auf jeden Fall irgendwo deponiert hatte.
Ich geb Bescheid, bis dahin.
Viele Grüße
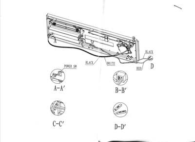
ich hatte das selbe Problem mit dem Antec. Irgendwann hatte ich die Nase gestrichen voll, weil sich das Imon in Verbindung mit der Harmony ständig aufhängte. Ich habe dann den internen IR Empfänger mit schwarzer Folie abgedunkelt und mir einen USB Receiver besorgt. Seitdem ist Ruhe im Schacht. Irgendwo im MCE Forum hab ich die Anleitung gepostet, wie das Imon im Antec richtig angeschlossen wird. Der Gehäuseschalter muss auf der Imonplatine eingesteckt werden und das Kabel vom imon muss zum Anschluss der OnOff Taste auf dem Motherboard.
Gruß Uwe
TV: Samsung UE55-F8090
|
KODI 18 Intel Nuc7i5BNK
|
KODI 18 Intel Nuc7i5BNK
|
KODI 18 Intel Nuc7i5BNK
|
KODI 18 Intel Nuc7i5BNK
|
Server 2016 Essential
|
Teufel 7.1
|
Re: Antec Fusion Remote geht nicht an
Ich danke euch beiden!!
Morgen sehe ich mir das Ganze in Ruhe einmal an und berichte dann über meine Erfahrungen. Vom Absturz-Problem der iMon-Software in Verbindung mit der Harmony habe ich gelesen. Mal sehen, ob mich das auch dazu bringen wird, mir einen anderen IR- oder gleich einen USB-Empfänger zu kaufen - so weit bin ich aber noch nicht
Uwe, welchen hast du dir denn zugelegt und wie was hat der Spaß in etwa gekostet?
Wünsche ein schönes Wochenende!
Morgen sehe ich mir das Ganze in Ruhe einmal an und berichte dann über meine Erfahrungen. Vom Absturz-Problem der iMon-Software in Verbindung mit der Harmony habe ich gelesen. Mal sehen, ob mich das auch dazu bringen wird, mir einen anderen IR- oder gleich einen USB-Empfänger zu kaufen - so weit bin ich aber noch nicht

Uwe, welchen hast du dir denn zugelegt und wie was hat der Spaß in etwa gekostet?
Wünsche ein schönes Wochenende!
-
- Beiträge: 140
- Registriert: 20. Januar 2010 16:19
-
Wohnort: Pforzheim1. Harmony: Ultimate2. Harmony: Ultimate3. Harmony: HubSoftware: MyHarmony+PC-Software
Re: Antec Fusion Remote geht nicht an
http://www.mce-community.de/forum/index ... t&p=185759jaaraki hat geschrieben:
Uwe, welchen hast du dir denn zugelegt und wie was hat der Spaß in etwa gekostet?
Wünsche ein schönes Wochenende!
Hallo.
geh mal ins MCE Forum und da findest Du die Möglichkeit einen günstig einzeln zu bekommen. Meinen hab ich mal irgendwann von Hauppauge...
Dir auch ein schönes WE
Uwe
TV: Samsung UE55-F8090
|
KODI 18 Intel Nuc7i5BNK
|
KODI 18 Intel Nuc7i5BNK
|
KODI 18 Intel Nuc7i5BNK
|
KODI 18 Intel Nuc7i5BNK
|
Server 2016 Essential
|
Teufel 7.1
|
-
- Beiträge: 35
- Registriert: 13. Oktober 2009 10:18
-
Wohnort: Oberfranken1. Harmony: One2. Harmony: 525
Re: Antec Fusion Remote geht nicht an
Auf diese Weise verlierst du allerdings die Möglichkeit den HTPC über die Fernbedienung ein- bzw. auszuschalten. Du kannst ihn dann nur noch in den S3 (evtl. S4) Modus schicken und daraus wieder aufwecken, aber auf keinen Fall mehr über die FB einschalten.
-
- Beiträge: 140
- Registriert: 20. Januar 2010 16:19
-
Wohnort: Pforzheim1. Harmony: Ultimate2. Harmony: Ultimate3. Harmony: HubSoftware: MyHarmony+PC-Software
Re: Antec Fusion Remote geht nicht an
Hallihallo,DAU0815 hat geschrieben:Auf diese Weise verlierst du allerdings die Möglichkeit den HTPC über die Fernbedienung ein- bzw. auszuschalten. Du kannst ihn dann nur noch in den S3 (evtl. S4) Modus schicken und daraus wieder aufwecken, aber auf keinen Fall mehr über die FB einschalten.
stimmt. Es geht nur noch das wecken aus dem Standby oder Ruhezustand. Richtig einschalten geht nicht mehr, wobei ich glaube, dass das vorher mit der Verwendung des Imon-IRs auch nicht funktionierte... >Achselzuck<
Gruß Uwe
TV: Samsung UE55-F8090
|
KODI 18 Intel Nuc7i5BNK
|
KODI 18 Intel Nuc7i5BNK
|
KODI 18 Intel Nuc7i5BNK
|
KODI 18 Intel Nuc7i5BNK
|
Server 2016 Essential
|
Teufel 7.1
|
-
- Beiträge: 35
- Registriert: 13. Oktober 2009 10:18
-
Wohnort: Oberfranken1. Harmony: One2. Harmony: 525
Re: Antec Fusion Remote geht nicht an
Doch das Ein- und Ausschalten mit der Harmony funktioniert bei mir eigentlich sehr gut, allerdings nur so lange bis sich der IMon-Empfänger mal wieder aufhängt. 

-
- Beiträge: 140
- Registriert: 20. Januar 2010 16:19
-
Wohnort: Pforzheim1. Harmony: Ultimate2. Harmony: Ultimate3. Harmony: HubSoftware: MyHarmony+PC-Software
Re: Antec Fusion Remote geht nicht an
Ähm...DAU0815 hat geschrieben:Doch das Ein- und Ausschalten mit der Harmony funktioniert bei mir eigentlich sehr gut, allerdings nur so lange bis sich der IMon-Empfänger mal wieder aufhängt.

Einschalten aus dem S3 und S4 klappt mit der FB einwandfrei. Ich hatte Dich so verstanden, dass wenn der Rechner ganz heruntergefahren ist, dass man ihn nicht wecken kann. Und das kann ich nicht mal sagen, ob das je funktioniert hatte.
Ich hab auf jeden Fall keinerlei Hänger der Imon Soft- oder Hardware mehr, seit ich den Imon IR nicht mehr benutzte. Gut da gabs zwischenzeitlich 3 Updates der ImonSoft, aber ich hab keine Lust mehr, das Display wieder auszubauen...
Achja, mit der 900 hat das noch einen Vorteil. Mein Blaster steht auf dem Board in dem drunter der HTPC steht. Auf diese Weise konnte ich den IR Empfänger und den Miniblaster hinter dem HTPC plazieren.
Gruß Uwe
TV: Samsung UE55-F8090
|
KODI 18 Intel Nuc7i5BNK
|
KODI 18 Intel Nuc7i5BNK
|
KODI 18 Intel Nuc7i5BNK
|
KODI 18 Intel Nuc7i5BNK
|
Server 2016 Essential
|
Teufel 7.1
|
-
- Beiträge: 35
- Registriert: 13. Oktober 2009 10:18
-
Wohnort: Oberfranken1. Harmony: One2. Harmony: 525
Re: Antec Fusion Remote geht nicht an
Du hast es schon richtig verstanden. Das Antec Gehäuse kann über den eingebauten IMON Empfänger jederzeit hoch- bzw. runtergefahren werden. Da der Empfänger (wenn richtig eingebaut) direkt mit der Power Taste verbunden ist, ist das problemlos möglich und funktioniert mit meiner 525 auch tadellos (bis zum Absturz, daran haben auch die Updates nichts geändert).
Mal interessehalber: Hast du die Frontanzeige weiterhin an oder ist die ebenfalls ausgeschaltet?
Mal interessehalber: Hast du die Frontanzeige weiterhin an oder ist die ebenfalls ausgeschaltet?